Kabel do ładowania samochodów elektrycznych AC 230V 32A 7.3kW 5m TYP 2 IP54
Myśląc o samochodach spalinowych najczęściej zadajemy sobie pytania dotyczące spalania czy też możliwościach przyspieszenia. Natomiast myśląc o autach elektrycznych zastanawiamy się nad ich zasięgiem oraz szybkością ładowania. Nie da się niestety precyzyjnie określić jak długo nasz samochód będzie się ładować oraz ile kilometrów na pełnym naładowaniu przejedziemy. To drugie w głównej mierze zależne jest od naszego stylu jazdy oraz tego, czy potrafimy umiejętnie odzyskiwać energię podczas hamowania. Pojemność akumulatora w tym przypadku jest drugorzędna.
Wydawać by się mogło, że kabel do ładowania samochodu elektrycznego podobnie jak wtyczka z kablem domowych urządzeń AGD jest tylko zwykłym złączem. Nic bardziej mylnego! Mimo, iż w obu przypadkach mamy do czynienia z przewodowym połączeniem elektrycznym to kabel do ładowania samochodów elektrycznych jest dużo bardziej zaawansowanym technologicznie produktem. Nieodpowiednio dobrany przewód może być przyczyną niedostosowania parametrów ładowania do samochodu.
Wybierając kabel do ładowania samochodu elektrycznego zastanawiamy się, który będzie najlepszy do naszego auta pod względem mocy, szybkości ładowania czy ergonomii. Przewody ładujące spełniają standardy IEC 62196. 1-2014; IEC 62196. 2-2014; IEC 61851, jak również są zgodne z RoHS. Każdy kabel do ładowania samochodów przed wypuszczeniem na rynek jest poddawany pomiarom, których protokół jest dołączany w opakowaniu.
➡️ Właściwości kabla do ładowania AC 230V 32A 7.3kW 5m TYP 2 IP54
✔️ styki wykonane z posrebrzanego stopu miedzi w gumowej izolacji;
✔️ prąd znamionowy 32A;
✔️ napięcie znamionowe 250V;
✔️ moc 7.3kW (jest uzależniona od rzeczywistego napięcia w sieci el. pod obciążeniem 32A);
✔️ wtyczka standard IEC 62196-2 (Typ 2);
✔️ stopień ochrony IP54;
✔️ wejście: wtyczka Typ 2 jednofazowa 32A, wyjście: gniazdo Typ 2 jednofazowe 32A.
➡️ Kompatybilność z samochodami wyposażonymi w gniazda typu 2:
✔️ Audi A3 e-tron, Q7 e-tron i inne elektryczne oraz hybrydowe modele audi;
✔️ BMW 225e, 328e, 330e, 40e;
✔️ BMW i3, i8;
✔️ BYD e6;
✔️ Honda e;
✔️ Mercedes Vito E-Cell;
✔️ Nissan Leaf 2018;
✔️ Opel Corsa-e;
✔️ Peugeot e-208, e-2008 SUV;
✔️ Porsche Cayenne S E-HYBRID, Panamera S PHEV;
✔️ Renault Zoe;
✔️ Smart Electric Drive;
✔️ Tesla Model 3, Model S, Model X;
✔️ Volvo Volvo V60 PHEV, XC90 PHEV;
✔️ VW e-Golf, VW e-up!, ID-3.
| Standard |
TYP2 (IEC 62196-2:2014) |
| Tryb ładowania |
3
|
| Sposób podłączenia |
B |
Rodzaj prądu
|
AC
|
| Kolor obudowy |
czarny
|
| Kolor kabli |
czarny |
Temperatura otoczenia (praca)
|
-30° ... +50°C |
| Temperatura otoczenia (przechowywanie) |
-40° ... +80°C |
| Stopień ochrony |
IP54 |
| Materiał obudowy wtyczki i przyłącza |
plastik termoutwardzalny UL94V-0 |
Materiał osłony
|
tworzywo TPU |
| Materiał styków |
posrebrzany stop miedzi |
| Wejście |
wtyczka Typ 2 jednofazowa 32A |
Wyjście
|
gniazdo Typ 2 jednofazowe 32A
|
| Kabel |
EVC H07BZ5-F 3 x 6+1 x 0,75
450/700V
IEC 62893-3 EN 50620
5m
|
| Wytrzymałość mechaniczna |
> 10000 (wpięć i wypięć) |
| Maksymalna siła ciągnięcia |
< 100N |
| Odporność na upadek |
z wysokości 1m |
| Odporność na nacisk |
2t |
| Prąd znamionowy |
32A |
| Napięcie znamionowe |
250V |
| Maksymalna wytrzymałość napięciowa |
2500V |
| Moc |
7.3 kW |
| Ilość pinów zasilających |
3P (L1, N, PE) |
| Ilość pinów sygnałowych |
2 (PP, CP) |
| Prąd pinów sygnałowych |
2A |
| Rezystancja izolacji |
5MΩ 500V DC
|
| Rezystancja uziemienia |
<0.05 Ω |
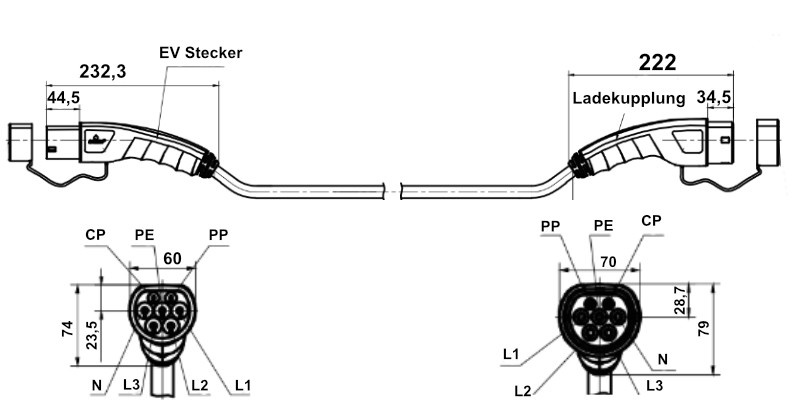
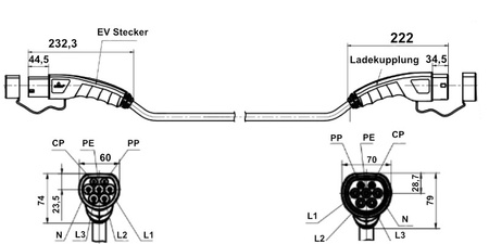
|
UKŁAD PINÓW

|
|
WYMIARY

|
Moźliwość ładowania w stacjach wyposażonych w gniazda 1F 32A
|

|
| Do każdej sztuki dołączony protokół kontrolny |
tak |
| waga netto |
2,3kg |
| Normy i certyfikacje |
RohS
IEC 62196.1-2014 IEC 62196.2 -2014
CE, EAC
|
Numer katalogowy
|
MEAC-S-032A-V1P1
|
| EAN |
5907589333213 |
