Przekaźnik bistab impuls włącz-wyłącz 2kanał. 265V 2xmax8A 2xNO F&F BIS-416
- BIS-416 Przekaźnik bistabilny impulsowy Typu włącz-wyłącz dwukanałowy do puszki podtynkowej Ø60 265V 2x max 8A 2xNO F&F
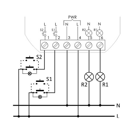
Przekaźnik bistabilny impulsowy BIS-416
Przekaźnik bistabilny elektroniczny impulsowy. Umożliwia załączenie lub wyłączenie oświetlenia lub innego urządzenia z kilku różnych punktów za pomocą równolegle połączonych, chwilowych (dzwonkowych) włączników sterujących, posiada dwie sekcje załączające i umożliwia załączenie w odpowiedniej sekwencji dwóch obwodów (gałęzi) oświetlenia lub innych odbiorników z kilku różnych punktów.
Działanie:
- po naciśnięciu przycisku (dzwonkowego) podłączonego do przekaźnika następuje włączenie odbiornika. Po następnym przyciśnięciu przycisku następuje wyłączenie odbiornika,
- przekaźnik posiada dwa niezależne sterowane kanały. Sterowanie odbywa się za pomocą dwóch oddzielnych wejść sygnałowych,
- przekaźnik nie posiada pamięci tzn. gdy napięcie zasilania zostanie utracone przekaźnik pozostaje wyłączony.
| zasilanie |
100 ÷ 265V AC |
| prąd obciążenia |
2×[<8A] |
| styk |
2× (1×NO) |
| opóźnienie zadziałania |
0,1÷0,2s |
| pobór mocy |
0,8W |
| prąd impulsu sterującego |
<5mA |
| sygnalizacja zasilania |
LED zielona |
| sygnalizacja zadziałania styku |
2xLED czerwona |
| temperatura pracy |
-25°C...+50°C |
| przyłącze |
zaciski śrubowe 2,5mm² |
| moment dokręcający |
0,4Nm |
| stopień ochrony |
IP20 |
| wymiary |
Ø54 (48×43mm), h=20mm |
| montaż |
w puszce podtynkowej Ø60 |
| producent |
F&F Filipowski |
| typ | BIS-416 |
| EAN | 5908312598275 |





